工作动态
433项重要国家标准批准发布
来源:中国纤维质量监测中心     发布日期:2023-08-11    查看次数:

433项重要国家标准批准发布


中国 纤检

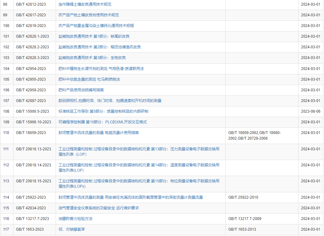
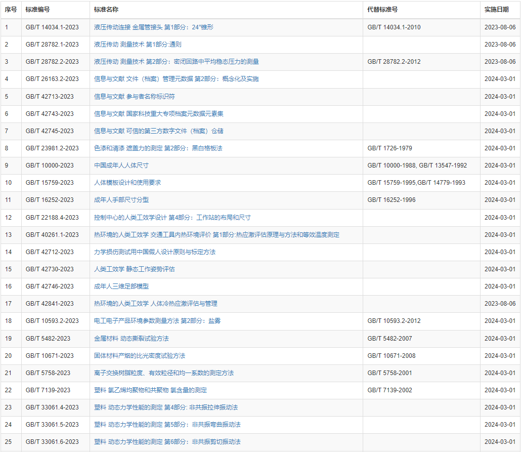
近日,市场监管总局(国家标准委)批准发布一批重要国家标准,涉及纤维纺织品等方面,如下:

关于本网站|版权信息|法律公告| 设为首页|加入收藏|网管信箱

版权所有:2007-2008 陕西省纤维检验局 Copyright © 2007-2008 www.sxxj.org.cn,All Rights Reserved.
             
            地址:陕西省西安市咸宁西路30号陕西质检大厦13楼 电话:029-62655835 

            陕ICP备2022008018号  陕公网安备 61010302000432号